您好,欢迎访问9123金彩汇网站!

产品中心Products

联系我们Contact

9123金彩汇
联系人:张经理
手机:18601491215
手机:18036871606
邮箱:zl@zhiweihb.cn
地址:无锡市锡山区东港镇阳光路
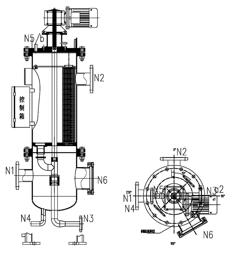
吸吮式反冲洗过滤器
至唯全自动反冲洗过滤器系列适用于恶劣工况,内部集成多只楔形滤元,当滤元堵塞时,独特的反冲洗转臂将滤元逐组反冲洗,通过压差控制和定时控制自动清洗滤芯。能够全自动在线连续过滤,降低了停机成本、维护成本和人力成本,是水及水性液体过滤的先进解决方案。
至唯反冲洗过滤器具有区别于普通网式自清洗过滤器的突出优势,采用坚固耐用的楔形网滤元,表面缝隙宽度均一,单机超大过滤面积,可低表面流速精细过滤,单机超大流量可达3000m3/h,高可靠性,可胜任较恶劣水质,如含油泥状杂质、软性粘性杂质,较高杂质含量,少量毛发及纤维类杂质。

工作原理

       当过滤器内杂质积聚在滤芯表面引起进出口压差增加到设定值,或定时器达到预置时间时,控制系统发出信号,驱动反冲洗机构。当反冲洗吸盘口与滤芯进口正对时,排污阀打开,此时系统泄压排水,吸盘与滤芯内侧出现一个相对压力低于滤芯外侧水压的负压区,迫使部分净循环水从滤芯外侧流入滤芯内侧,吸附在滤芯内壁上的杂质微粒随水流进吸盘内并从排污阀排出。当过滤器进出口压差恢复正常或定时器设定时间结束,电机停止运转,电动排污阀关闭。
       整个过程中,物料不断流,反洗耗水量少,实现了连续化,自动化生产(PLC或DCS控制)。



性能特点
滤元
至唯楔形滤芯具有以下突出优点:
过滤精度50~2000微米,缝宽均一,缝隙误差小于5微米
精度高开孔率,同等过滤面积流量更大,纳污能力更强,过滤器更加紧凑
316L材质耐腐蚀性能好
有双相不锈钢或钛2特殊材质可选,特别适用于海水
内表面光滑,V型开口缝隙,不易被杂质卡死
具有好的反冲洗性能,长期保持稳定流量
可过滤较恶劣水质,如含油泥类杂质、凝胶、微量纤维等棘手杂质
高强度结构,压差上升时,缝隙不变形,颗粒架桥稳定,精细过滤
耐受高强度的正反向压力冲击,使用寿命8年以上,几乎无二次滤元购置费用

反冲洗过滤器
可适用于高速大流量,低粘度的液体过滤,单一系统处理量可达1600m3/h,光滑的管和管口连接避免死角降低压降,滤网采用不锈钢楔型滤网,以满足不同的应用要求。
在反冲洗过程中,各滤筒依次进行反冲洗操作,确保滤网安全,方便清洗,而其他滤筒不受影响继续过滤。
过滤设备易损件少,无耗材,运行维护费用低,可自动控制反冲洗时间,调试程序能使压差设定在合理值。
高灵敏度的红外对射控制,将旋转臂的旋转度提高4倍,从而降低了反冲时间及反冲耗水量。
可选PLC标准控制系统工业过程控制DCS接口,可与集中控制连接,实现远程观察和控制可提供系统过压报警、设备故障和系统故障自诊断提示功能。

技术参数

 壳体材质
 CS / 304 / 316L / CS衬胶 / CS衬氟
 滤网材质
 304 / 316L、楔形滤芯 / 编织网滤芯
 清洗组件
 304 / 316L
 过滤精度  25~3500um
 工作压力
 0.3~1.6MPa
 电压
 220V / 380V
 密封圈
 丁晴橡胶 / 氟橡胶 / 四氟
 表面处理
 CS:防腐油漆     不锈钢:喷砂(默认)、抛光
 排污阀
 CS / 304 / 316L
 排污阀尺寸
 DN25 / DN50 / DN80
 排污阀控制方式
 手动、电动、气动、液动
 清洗时间
 15~60s
 每次清洗水量
 ≤5%
 自清洗控制方式
 压差、时间、手动


运用领域:原水处理、水处理系统、制冷系统、钢铁、造纸、采矿、石油化工、精密金属制造等
适用液体类型:地下水、海水、湖水、水库水、循环冷却水、冷冻水、喷淋水、热交换水、密封水、轴承冷却水、油井注水、工艺循环水、机加工冷却剂、清洗水等
友情链接:

18601491215 / 18036871606

( 服务咨询电话 )
地址:无锡市锡山区东港镇阳光路
COPYRIGHT © 9123金彩汇 All Rights Reserved.
技术支持:  备案号:苏ICP备2021046230号-1
 苏公网安备32021402003332号